Циклон БЦ-512-1-(4x4) в Туле

Батарейный циклон БЦ-512-1-(4x4) — сухой газоочистительный прибор, который используется в процессе обеспыливания загрязненного воздуха, в составе которого имеется неслипающаяся либо неволокнистая пыль. Устанавливаются к твердотопливным котлам КВм и КВ-ТС с механическими топками ТЛЗМ, ТЧЗМ, ТЛПХ. Вид циклона подбирается в соответствии с производительностью и мощностью котельного агрегата.

Цена:
Цена не указана
Количество:
Отправляя свои личные данные через формы на сайте, Вы даёте своё согласие на обработку персональных данных согласно Федеральному закону №152-ФЗ «О персональных данных» от 27.07.2006 г. в редакции от 01.07.2017.

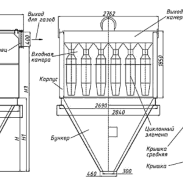
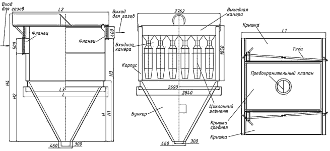
Устройство и принцип работы циклона БЦ-512-1-(4x4)

Батарейный циклон БЦ-512-1-(4x4) собран из нескольких циклонных элементов, объединенных в общий сварной корпус. Для этого вида циклонов характерно трехсекционное строение — верхняя, средняя и нижняя камеры. При небольших нагрузках один или два из трех отсеков могут быть отключены при помощи шибера. Крышка циклона оснащена предохранительных клапаном, который защищает прибор на случай аварийной ситуации. По необходимости, циклоны могут обшиваться теплоизоляционными материалами. Особенно это актуально в случаях нестабильного температурного режима.

Сначала потоки загрязненного воздуха попадают в средний отсек и проникают во все циклонные элементы. Далее, за счет центробежной силы, зола и пыль оседает на стенках средней камеры. При контакте со встречными потоками воздуха, твердые частицы золы и пыли попадают в нижнюю секцию (бункер), в то время как обработанный чистый воздух проходит через верхнюю камеру и выходит из системы.

Условное обозначение

Циклон БЦ-512-1-(4x4), где:

  • Б — батарейный;
  • Ц — циклон;
  • 512 — диаметр циклонного элемента.
  • 1 — количество секций;
  • (4x4) — количество элементов.

Монтаж циклона БЦ-512-1-(4x4)

Эффективность работы батарейного циклона БЦ-512-1-(4x4) зависит от соблюдения СНиП 11-35-76 «Котельные установки» и «Правил устройства и безопасной эксплуатации паровых и водогрейных котлов». Чтобы не допустить перепад температур и образования конденсатов в бункере-накопителе, прибор устанавливают внутри помещения. Циклон может устанавливаться за блоком котла либо удаленно. При установке циклона на удаленном расстоянии от котла, недопустимы перегибы, сужения и расширения газопровода.

Установка и пуско-наладочные работы выполняют специалисты, которые имеют разрешение на проведение данных работ.

Характеристики
Тип: ЦБ
Серия: БЦ-512
Диаметр циклонного элемента: 512 мм
Количество элементов: 16 шт
Количество секций: 1 шт
Производительность по воздуху: 44000 м³/ч
Степень очистки газов: 80-95 %
Максимальная температура очищаемого газа: 400 °С
Габаритные размеры: 4180x3650x7075 мм
Масса: 10800 кг
Схемы

Города поставок

Москва
Пн-Пт 09:00 - 18:00
Сб 09:00 - 17:00
Карачаево-Черкесская Республика
Пн-Пт 09:00 - 18:00
Сб 09:00 - 17:00
Екатеринбург
Пн-Пт 09:00 - 18:00
Сб 09:00 - 17:00

Совершите покупку за 4 шага

Шаг 1
Выберите товары из каталога
Шаг 2
Поместите нужные вам товары в корзины
Шаг 3
Укажите свои контактные данные в форме обратной связи
Шаг 5
Ожидайте звонка от менеджера для оформления покупки

Похожие товары

Циклоны
Циклон ЦН-24-800-1УП — это устройство, которое предназначено для очистки газового потока от частиц пыли, размер которых более 20 мкм. Данное очистное устройство не предназначено для высокой степени очистки газов от загрязняющих веществ, применяется как первая ступень очистки газа от пыли для дальнейшей дезактивации или как очистное сооружения на предприятиях, где есть обширная санитарно-защитная зона и возможности выбрасывать загрязнённые газовые потоки в атмосферу. Чаще всего применяется данная модель циклона на предприятиях черной и цветной металлургии, при изготовлении строительных материалов, в машиностроительной промышленности, при транспортировке вредных мелкозернистых вредных веществ, а также в нефтяной и химической индустрии.
Вы смотрели эти товары
Циклоны
Батарейный циклон БЦ-512-1-(4x4) — сухой газоочистительный прибор, который используется в процессе обеспыливания загрязненного воздуха, в составе которого имеется неслипающаяся либо неволокнистая пыль. Устанавливаются к твердотопливным котлам КВм и КВ-ТС с механическими топками ТЛЗМ, ТЧЗМ, ТЛПХ. Вид циклона подбирается в соответствии с производительностью и мощностью котельного агрегата.
Транспортёры
Транспортёр шлакоудаления — это техническое устройство, которое предназначено для удаления продуктов сгорания каменного и бурого угля (шлак-зола) из автоматического котла. Используется в котельных на угле, в тепловых электростанциях и доменных печах.
Комплектующие и запчасти
Склад угольный – помещение для складирования твердого топлива. Основная задача – это сохранение топлива (угля, дров) в целости.